2020年8月7日国家统计局国际统计信息中心主任张军发表署名文章,文章中提到:2019年,我国国内生产总值接近100万亿元,稳居世界第二大经济体。人均国民总收入(GNI)不断提升。2019年,我国人均GNI上升至10410美元,首次突破1万美元大关,高于中等偏上收入国家9074美元的平均水平。世界排名位次明显提升。2000年,世界银行公布人均GNI数据的207个国家和地区中,我国排名第141位;2019年,在公布数据的192个国家和地区中,我国上升至第七十一位,较2000年提高70位。
01
人均国民总收入(GNI)究竟代表什么?它是怎么衡量一个国家的收入水平的?在国际上各个国家的排名又是怎样的?
1、人均国民收入(GNI)
人均国民总收入:是指国民总收入除以年均人口,与人均国民生产总值(GNP)相等,与人均国内生产总值(GDP)大致相当。人均国民总收入不等于人均收入。这是关键。
国民总收入是一个国家所有常住单位在一定时期内(通常是1年)获得的劳动者报酬、生产税、补贴、固定资产折旧、营业盈余和财产收入等原始收入总额。人均国民总收入既包括企业所得和政府所得,也包括居民个人所得。而人均收入只包括居民个人所得。这样一说大家就应该能理解了。

按世界银行公布的数据,2015年的收入分组标准为:人均GNI低于1025的是低收入经济体;1026-4035是中低收入经济体;4036-12475是中高收入经济体;高于12476的是高收入经济体;人均GNI小于1185的经济体可以享受IDA贷款。
我国离最高目标已经不远了,未来可期。
2、那什么是人均可支配收入?
人均可支配收入这个指数主要用来衡量一个国家生活水平的变化情况。
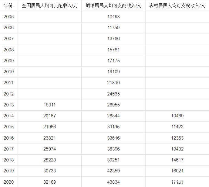
2005-2020年我国居民人均可支配收入

根据历年全国居民人均可支配收入数据来看,我国从2005年到2020年有了一个大的提升。2020年我国居民人均可支配收入已经达到32189元,一个月平均下来就是2682.4元;2020年城镇居民人均可支配收入为43834元,一个月平均下来就是3652.83元。
根据这个数据,你拖国家后腿了吗?

02
除了这两个指数,国际上还有一个重要的衡量收入水平指标:
那就是恩格尔系数。

恩格尔系数(Engel's Coefficient):是食品支出总额占个人消费支出总额的比重。
19世纪德国统计学家恩格尔根据统计资料,对消费结构的变化得出一个规律:一个家庭收入越少,家庭收入中(或总支出中)用来购买食物的支出所占的比例就越大,随着家庭收入的增加,家庭收入中(或总支出中)用来购买食物的支出比例则会下降。恩格尔系数成为衡量一个家庭或一个国家富裕程度的主要标准之一。恩格尔系数较高,作为家庭来说则表明收入较低,作为国家来说则表明该国较穷。反之,恩格尔系数较低,作为家庭来说则表明收入较高,作为国家来说则表明该国较富裕。
恩格尔系数指标:达59%以上为贫困,50~59%为温饱,40~50%为小康,30~40%为富裕,低于30%为最富裕;20%以下为极其富裕。
结语:根据上面的几个衡量指标,大家可以结合自身情况做一下分析。如果觉得自己拖后腿了,就奋起努力,达到自己的目标;如果已经非常努力,达到了自己的目标,就和国家一起享受富裕的生活。国家这阶段的目标是消除一些落后地区的脱贫人物,大家有能力的也可以对贫困地区做出自己的一份贡献。也祝大家的生活越来越好。
